4A110 4A120 4A130-M5/06 series 5 position 2 way single or double pneumatic coil air control solenoid valve
Order code
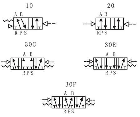
Symbol

Technical parameter
Model
4A110-M5
4A120-M5
4A130C-M5
4A130E-M5
4A130P-M5
4A110-06
4A120-06
4A130C-06
4A130E-06
4A130P-06
Fluid
Air
Acting
Exterior control
Valve type
5/2 way
5/3 way
5/2 way
5/3 way
Orifice size
5.5mm2
5mm2
12mm2
50mm2
Lubrication
No required
Port size
In=out=Exhaust=M5
In=out=Exhaust=G1/8”
Protective class
IP65
Pressure range
0.15-0.8MPa
Proof pressure
1.2MPa
Material of body
Aluminum Alloy
Temperature
-5℃~60℃
Response
speed
<0.05s
Dimension
Feature
.5 port air operated valve: 4A100, 4A200, 4A300 4A400series
. 4A110, 4A120, 4A130C, 4A130E, 4A130P series air flow control valve.
. Exterior control, 5 port 2 position or 5 port 3 position DC12V/24V Solenoid Air Control Valve Pneumatic Valve
.Port size: M5X0.8, 1/8".
.Double air control 5/2 way valves have memory function;
. Internal hole adopts special processing technology which has
little attrition friction, low start pressure and long service life;
. No need to add oil for lubrication;
. Integrate with the manifold to save installation space.





