1/2 inch alluminum alloy body single/double 24V Solenoid Air Control Pilot Operated Pneumatic Valve 4A410-15 4A420-15 4A430-15
Order code
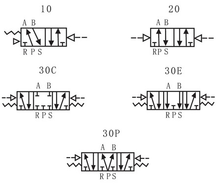
Symbol

Technical parameter
Model
4A410-08
4A420-08
4A430C-08
4A430E-08
4A430P-08
Fluid
Air
Acting
Exterior control
Valve type
5/2 way
5/3 way
Orifice size
50mm2
30mm2
Lubrication
No required
Port size
In=out=Exhaust=G1/4”
In=out=Exhaust=G3/8”
Protective class
IP65
Pressure range
0.15-0.8MPa
Proof pressure
1.2MPa
Material of body
Aluminum Alloy
Temperature
-5℃~60℃
Response
speed
<0.05s
Dimension
Feature
. 4A410-15, 4A420-15, 4A430C-15, 4A430E-15, 4A430P-15 series air operated valve.
. Exterior control, 5 port 2 position or 5 port 3 position.
. Port size: 1/2"
.Double air control 5/2 way valves have memory function;
. Internal hole adopts special processing technology which has
little attrition friction, low start pressure and long service life;
. No need to add oil for lubrication;
. Integrate with the manifold to save installation space.





